isCon® connection element

Item no. 5408021 | EAN 4012196591671

28 mm
Product description
Product description
• For the isCon® Basic and Professional cable
• Screw-on termination
• Including heat-shrinkable sleeve and hexagonal wrench
• Tested to up to 150 kA (lightning protection class II)

  • Lightning current-tested
  • CO₂ footprint (PCF)
  • Packaging without plastic
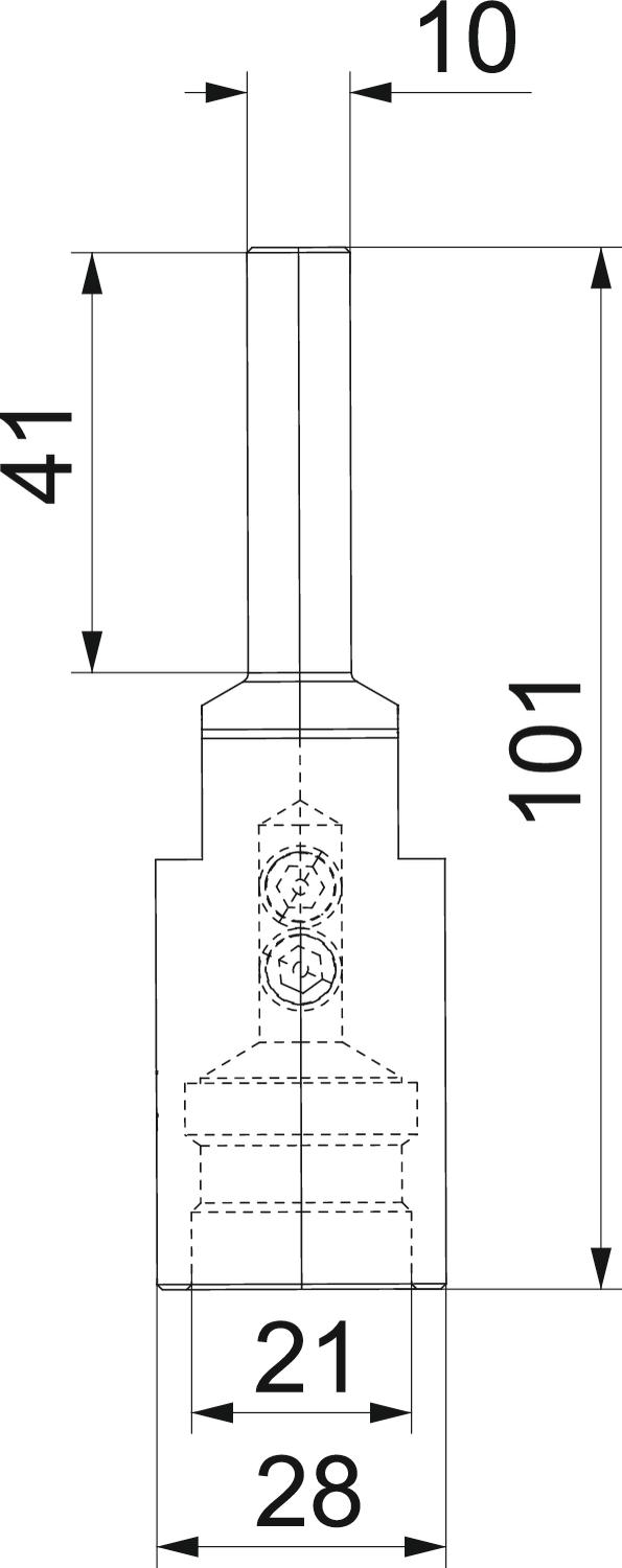
Technical data

Technical data

Clamping range, max. 20 mm
CO2 Footprint (GWP) Cradle-to-Gate 1,0668 kg CO2e / 1 Piece
Dimension Ø20mm
Dimension d min. 28 mm
Fit 20 mm
Lightning current carrying capacity H1/150 kA
Material Stainless steel 1.4301
All types

All types

Types Dimension d min. Lightning current carrying capacity Fit Item no. Quantity SSU
isCon con 2 28 mm H1/150 kA 20 mm 5408021
2 piece
isCon connect 28 mm H1/150 kA 23 mm 5408022
2 piece
isCon con PRE 28 mm H2/200 kA 23 mm 5408023
2 piece
Accessories

Mounting accessories

Products Types Item no. Quantity SSU
Stripping tool for isCon® conductor Stripping tool for isCon® conductor isCon stripper 2 5408013
1 piece
Downloads

Download

isCon con 2 / 5408021
Download